大學生就業落戶安居“一件事”以高校畢業生等青年需求為導向,以一體化政務服務平臺為樞紐,通過整合部門資源,優化辦理流程,推動信息共享,實現就業落戶安居等關聯事項“一次辦成、一次辦好”,讓高校畢業生等青年少跑腿、信息多跑路。
牽頭部門:宜昌市人力資源和社會保障局
聯辦部門:宜昌市醫療保障局、宜昌市住房和城市更新局、宜昌市公安局、國家稅務總局宜昌市稅務局
- 個人就業登記
1.年滿16周歲(含)至依法享受基本養老保險待遇。
2.從事一定社會經濟活動,并取得合法勞動報酬或經營收入。其中,勞動報酬或經營收入不低于當地居民最低生活保障標準。
- 高校畢業生社保補貼申領(靈活就業)
畢業年度和離校 2 年內未就業高校畢業生靈活就業后繳納的社會保險費,按規定給予社會保險補貼。
- 檔案的整理和保管
申請人實名登錄后,點擊在線辦理,即可查詢為狀態結果,未查到信息,請選擇委托存檔機構層級或電話聯系有關單位。
- 靈活就業養老保險新增/續保
根據《中華人民共和國社會保險法》第十條 職工應當參加基本養老保險,由用人單位和職工共同繳納基本養老保險費。無雇工的個體工商戶、未在用人單位參加基本養老保險的非全日制從業人員以及其他靈活就業人員可以參加基本養老保險,由個人繳納基本養老保險費。
- 社會保障卡服務(申領)
在中國境內居住的中國公民,以及在中國境內就業或者參加社會保險的香港、澳門特別行政區居民、臺灣地區居民、外國人。
- 高校畢業生一次性創業補貼申領
對初次辦理注冊登記,經營 6 個月及以上且帶動就業 2 人及以上(含創業者本人)的高校畢業生(畢業 5 年內),給予一次性創業補貼。
- 職工參保登記(靈活就業人員)
自愿參加職工基本醫療保險的無雇工的個體工商戶、未在用人單位參加基本醫療保險的非全日制從業人員以及其他靈活就業人員,可以向醫療保障經辦機構申請辦理參加職工基本醫療保險登記。
- 戶口遷移審批
大中專院校學生畢業落戶:大中專院校、技工學校學生畢業,可以按照當地規定辦理落戶。
- 靈活就業人員社會保險費申報
無雇工的個體工商戶、未在用人單位參加社會保險的非全日制從業人員以及其他靈活就業人員參加社會保險的,應當依照法律、行政法規規定或者稅務機關依照法律、行政法規規定確定的申報期限、申報內容,申報繳納社會保險費。
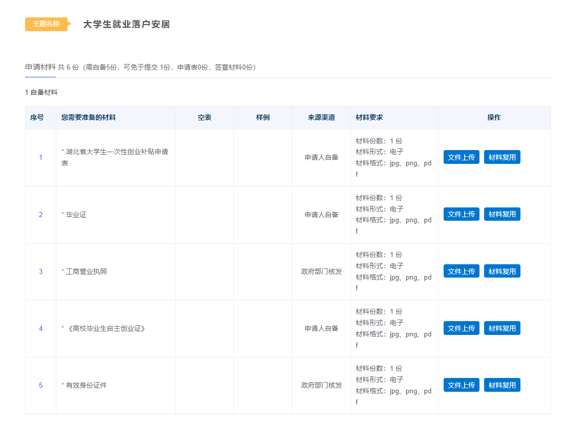
- 大學生就業落戶安居“一件事”申請表(電子表單在線生成免交)
- 中華人民共和國居民身份證(電子證照)
- 居民戶口簿(電子證照)
- 畢業證和學歷證明(普通電子文件)
- 證件照(普通電子文件)
- 居住憑證(普通電子文件)
- 關系憑證(普通電子文件)
- 營業執照(普通電子文件)
- 線上辦理
1.進入申報。進入湖北政務服務網“高效辦成一件事”專區,在“省級定標事項”搜索“大學生就業落戶安居”,點擊“立即辦理”選擇對應區劃進行申報。



2.情形引導。辦理人員根據自身實際情況,智能引導選擇完成對應情形選項。

3.條件預檢。完成引導選擇后,點擊“下一步”,就會進入到一件事的條件預檢頁面,校驗用戶是否符合該一件事辦理條件。

4.智能填表。智能填表頁面會根據申請人選擇情形智能展示相關業務字段,部分字段已通過接口數據獲取,無需申請人手動填寫,確認無誤后點擊“下一步”進入材料提交頁面。

5.材料提交。材料提交頁面其中部分材料可通過電子證照庫獲取實現免提交,剩余材料需申請人手動上傳,上傳完成后確認無誤點擊“提交”按鈕即可。

6.申報完成。完成一表填報、材料上傳,提交成功生成聯辦件編碼。

7.查詢辦件進度。辦理人員提交完成大學生就業落戶安居主題申報信息后,可通過個人專屬空間(用戶空間)查看辦件進度情況。點擊“我的辦事”,查看“聯辦件”,根據“申請時間”、“辦件編碼”、“審批事項”查看辦件進度。

- 線下申請
- 市本級窗口地址:
宜昌市西陵區體育場路46號市民之家一樓B區1B01政務服務窗口
- 交通指引:
廣大市民可乘B17/B18/B213公交直達,開車的市民朋友可定位宜昌市民之家停車場
- 工作時間:
周一至周五9:00-12:00,13:00-17:00,法定節假日除外
- 咨詢電話:
0717-6736750
- 西陵區:
宜昌市西陵區政務服務中心四樓D4“高效辦成一件事”綜合窗口
- 工作時間:
周一至周五9:00-12:00,13:00-17:00,法定節假日除外
- 咨詢電話:
0717-6985909
- 伍家崗區:
宜昌市伍家崗區政務服務中心一樓4號綜合窗口
- 工作時間:
周一至周五9:00-12:00,13:00-17:00,法定節假日除外
- 咨詢電話:
0717-6355358轉9
- 點軍區:
宜昌市點軍區江南大道53號一樓大廳綜合窗口5-10號
- 工作時間:
周一至周五8:30-12:00,14:00-17:30,法定節假日除外
- 咨詢電話:
0717-6673735
- 猇亭區:
宜昌市猇亭區猇亭大道203號猇亭區市民之家一樓5、6號全科綜合窗口、人社綜合窗口
- 工作時間:
周一至周五8:30-12:00;14:00-17:00(夏令時:8:30-12:00;14:30-17:30),法定節假日除外
- 咨詢電話:
0717-6516815、6510856
- 高新區:
宜昌高新區政務服務中心C10號綜合窗口
- 工作時間:
周一至周五8:30-12:00,14:00-17:30,法定節假日除外
- 咨詢電話:
0717-6985130
- 夷陵區:
宜昌市夷陵區政務服務中心一樓A9-A12綜合窗口
- 工作時間:
周一至周五8:30-12:00,14:00-17:00,法定節假日除外
- 咨詢電話:
0717-7816082
- 宜都市:
宜都市陸城五宜大道99號宜都市政務服務中心一樓綜合窗口
- 工作時間:
周一至周五8:30-12:00,13:30-17:00(夏令時期間08:30-12:00;14:00-17:30),法定節假日除外
- 咨詢電話:
0717-4902305
- 枝江市:
枝江市政務服務中心二樓A區A201-A210號綜合窗口
- 工作時間:
周一至周五8:30-12:00,13:30-17:00,法定節假日除外
- 咨詢電話:
0717-4219162
- 當陽市:
當陽市政務服務中心一樓綜合窗口112號
- 工作時間:
周一至周五8:30-12:00,14:00-17:30(夏季);8:30-12:00,13:30-17:00(冬季),法定節假日除外
- 咨詢電話:
0717-3223909
- 遠安縣:
遠安縣鳴鳳鎮鳳儀路1號政務服務中心1樓B區B04-B14號窗口
- 工作時間:
周一至周五8:30-12:00,14:30-18:00 (其中12月1日至次年2月底作息為14:00-17:30),法定節假日除外
- 咨詢電話:
0717-3815636
- 興山縣:
興山縣政務服務中心2樓14-20號綜合窗口
- 工作時間:
周一至周五08:00-12:00,14:30-17:30法定節假日除外
- 咨詢電話:
0717-2587111
- 秭歸縣:
秭歸縣政務服務中心二樓B13、B14窗口
- 工作時間:
周一至周五午8:30-12:00,13:30-17:00,法定節假日除外
- 咨詢電話:
0717-2882036
- 長陽土家族自治縣:
長陽土家族自治縣政務服務中心一樓2號窗口
- 工作時間:
周一至周五8:30-12:00,14:00-17:30,法定節假日除外
- 咨詢電話:
0717-5336054
- 五峰土家族自治縣:
五峰土家族自治縣政務服務中心一樓15-16號窗口
- 工作時間:
周一至周五8:30-12:00,13:30-17:00,法定節假日除外
- 咨詢電話:
0717-5821563、0717-5828193